Fresh rides, bold takeovers, and everything in between. Micromobility Weekly is your pit stop for the industry’s sharpest twists, turns, and takeovers. Come Ride Along!
Got Your Micromobility Moment To Share? Email - press@micromobility.io
Hooked but not subscribed? 👀 Now’s the time. You’ll thank yourself later.
Micromobility Europe 2026

Still reading? We’re glad! Micromobility Europe 2026 just dropped its best ticket price.
Join us June 2-3, 2026, at Arena Berlin for two days of high-energy keynotes, panels, live demos, and hands-on networking with the global micromobility community.
The New Year Sale on General Admission tickets is live at just €349 for a limited time. Sale ends January 31!
The clock is ticking. Grab your tickets before it’s too late!
[Sponsor/Exhibit] | [Speak at the Event] | [Exhibit as a Startup]
Spots are filling fast! Secure yours today and be part of Europe’s bespoke event for all things micromobility.
Check Micromobility America 2026 (November 11-12) here
What You Need to Know Today
Spark Park - Startup Arena MME 2025
In this Startup Arena Pitch at Micromobility Europe 2025, Igor Pancevski, Co-Founder and CEO of Sparkpark, presents a lightweight, infrastructure-free approach to managing shared micromobility in cities.
Built around the idea of responsible micromobility, Sparkpark’s patented technology uses existing Bluetooth signals to localize shared e-scooters and e-bikes with centimeter level accuracy, without relying on docking stations or GPS-based systems. The wireless, solar-powered solution is quick to install and easy to scale across urban environments.
For the MME 2026, Early Bird pricing for the Startup Arena is live! Save your spot at a discounted rate, only until 31 Jan.
Belgium Hits Record 23.7K Speed Pedelecs in 2025

Belgium recorded its highest ever speed pedelec registrations in 2025, with 23.7k bikes registered, according to TRAXIO. New registrations rose modestly to 14.1k (+2.6% YoY), while the second-hand market surged 24% to 9.6k, accounting for over 40% of total registrations.
Growth continues to be driven by company leasing, which now represents 62% of new sales, as private buyers increasingly opt for used bikes. Adoption remains heavily concentrated in Flanders (97.5%), supported by strong cycling infrastructure and long-distance commuting needs, confirming speed pedelecs as a mainstream mobility option in Belgium.
South Korea Logs 98m e-Scooter Trips
Shared e-scooter rides in South Korea reached a record 98m trips in 2025, driven largely by young users and commuters. Around 14.6m users have registered across the four leading shared micromobility operators. Short trips are driving this growth. The surge highlights the expanding role of shared micromobility in urban transportation across Korean cities.
Boise Shared Micromobility Hits 900k rides

In Boise, Idaho, US, shared micromobility ridership continued to climb in 2025, with just over 900k rides, up from 607k in 2024, driven largely by e-scooters. In 2023, the city moved to a single-operator model, selecting Lime to improve oversight, complaint handling, and equitable distribution. Under the contract, no more than 40% of devices can be concentrated downtown, ensuring wider city coverage. Lime pays the city $100k annually, plus $0.10 per trip and $106 per device relocated due to complaints, as ridership continues to expand beyond the city core.
New Jersey E-Bike Rules Tightened
New Jersey has passed one of the country’s strictest e-bike laws, now requiring all e-bike riders to obtain a license, register their bike, and carry insurance, following rising crashes, including recent fatalities. Gov. Phil Murphy signed the bill into law, reclassifying all e-bikes as motorized bicycles with uniform rules and six-month compliance deadlines. Riders must be at least 17 with a driver’s license or 15 with a motorized bicycle license, with fines for violations after the grace period.
Voi CEO Fredrik Hjelm on Shared Micromobility Growth

Fredrik Hjelm, CEO of Voi, noted that by 2025, micromobility had moved past its make-or-break phase and into a more stable period of growth. The focus shifted from whether micromobility could work to figuring out how to make it work well. Attention turned to basics like vehicle lifespan, real unit economics, regulatory clarity, and tighter operations. Better hardware and software made fleets last longer and run more efficiently, while clearer rules replaced the free-for-all of early expansion. Bikes and scooters are now used as everyday transport, not treated as urban experiments.

- Liverpool, UK, warns e-scooter riders they face £300 fines for illegal use.
- French brand Look Cycle has extended its pedal distribution partnership with Chicken CycleKit in the UK.
- Police in Nottingham, UK, are using portable testers to seize illegal e-bikes.
- Danbury, Connecticut, US, is moving forward with an ordinance to regulate e-bikes and scooters.
- Police in March, Cambridgeshire, UK, seized an illegal e-scooter during a safety crackdown.
- Penticton, British Columbia, Canada, council discussed on January 20, 2026, plans to launch a shared e-bike and e-scooter program with Bird Canada.
- Schools across Australia are banning e-bikes and e-scooters amid growing child safety concerns.
- In Portsmouth, UK, the police seize 35 e-bikes and scooters, targeting the city’s hotspots.
- E-bike and scooter injuries are rising at Sentara trauma centers in Virginia, US, prompting safety warnings from doctors.
Pinecone Reaches 454k Shared E-Bikes Ahead of IPO

Pinecone Mobility (Songguo), a leading shared e-bike operator in China, has expandedits fleet to 454.6k bikes across 422 cities as it prepares for a Hong Kong IPO. Founded in 2017, the company has grown rapidly in China’s peripheral markets and now ranks fourth nationally by fleet size and transaction volume. Powered by a proprietary AI-based operations system and in-house e-bike manufacturing, Pinecone focuses on short and medium distance urban travel.
Ahead of its listing, the company reported improving unit economics, stable revenue of $103m in the first 9 months of 2025 and net losses narrowing significantly. Pinecone filed its prospectus with HKEX on January 2, aiming to fund further domestic expansion, strengthen technology and R&D, develop direct e-bike sales, and lay the groundwork for future international growth.
Xiaomi Launches e-Scooter 6 Lite

Xiaomi has introduced the e-scooter 6 Lite, the most affordable model in its new Scooter 6 lineup, aimed at short urban trips. The scooter features a 300W motor with 500W peak power, a top speed of 25 km/h, and a claimed range of up to 25 km. It comes with front dual-spring suspension, 10-inch pneumatic tires, drum and E-ABS braking, and smart features via the Xiaomi Home app, including ride data, motor lock, and energy recovery settings. The lightweight 18.1 kg frame supports up to 100 kg, offers IPX-rated water resistance, and includes three riding modes. Pricing has not yet been announced.

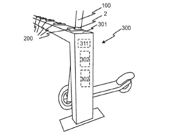
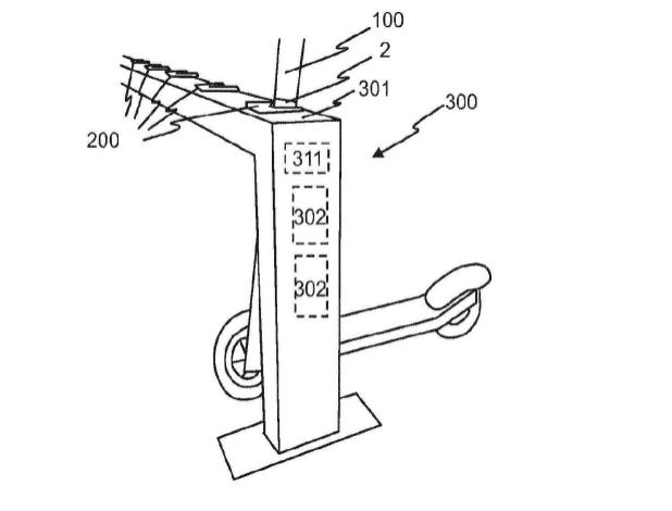
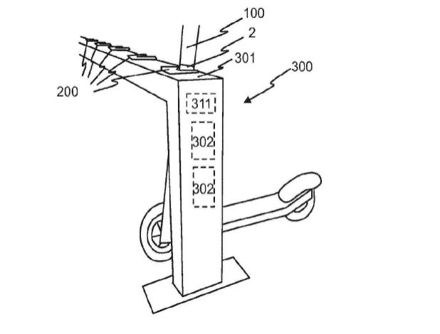
- In this patent published in 2024, Bolt Technology has filed a patent covering a dedicated charging station system for shared electric scooters and other light electric vehicles. The design integrates a head-tube-mounted charging adapter with RFID identification and side electrical contacts, enabling scooters to be charged simply by pushing them into a dock.

- Spring-loaded sockets automatically align, lock, identify, and charge vehicles, reducing manual battery swaps and street clutter. The system aims to lower operating costs, improve charging reliability, and standardise docked charging for large shared fleets.
Charlottesville Expands E-Bike Vouchers
In Charlottesville, Virginia, US, the city has expanded its e-bike voucher program for 2026, offering 12 vouchers per quarter across three tiers worth up to $1.5k to make e-bikes more affordable. In 2025, the city funded 100 vouchers but ultimately awarded 112, with a redemption rate of about 70% overall and 81% across the first three quarters. Lower-income applicants showed lower redemption rates, often citing cost barriers even with vouchers. Early interest remains strong, with 248 applications already submitted for the first 2026 drawing.
Lime Replaces Beryl in Midlands

In the UK, Lime has been appointed as the new provider for the West Midlands cycle and e-scooter hire scheme, replacing Beryl when its contract ends in March 2026. The expanded service will deploy more than 2k e-bikes and e-scooters from April, covering Birmingham and areas currently served, with plans to grow across the wider region. The new partnership will operate at no cost to taxpayers, saving about £1.4m a year in public funds by maintaining current price levels for at least two years.

- A 2025 study compares the spatiotemporal usage patterns of bike-sharing and e-scooter-sharing systems in a European city. Using rich trip-level data and clustering techniques, the authors uncover how shared bikes and e-scooters differ in where and when they are used, revealing nuanced temporal peaks and distinct spatial demand profiles associated with socioeconomic and built environment characteristics. These insights help explain how different shared micromobility modes complement each other, and inform planning decisions for sustainable urban transport.
- Full paper: Comparing bike and e-scooter sharing spatiotemporal patterns: Implications of resolution choices.Authors: Roxani Gkavra, Yusak Octavius Susilo (2025)
- A 2025 peer-reviewed analysis explores how shared electric micromobility can enhance first- and last-mile public transport connectivity. Examining usage and integration patterns, the authors detail how shared e-scooters and bikes contribute to bridging gaps between transit stops and final destinations, highlighting the conditions under which micromobility complements existing transport networks and supports sustainable multimodal travel behavior.
- Full paper: Can e-scooters connect first and last-mile of public rail transit?
- Authors: Hannaneh Abdollahzadeh Kalantari, Wookjae Yang, and Reid Ewing (2025)
- A 2025 peer-reviewed study investigates the potential impacts of a proposed mandatory helmet law (MHL) on urban cycling behavior and sustainable mobility in Prague. Using a survey of 448 urban cyclists, the authors find that while helmets can improve safety, mandatory helmet laws could discourage cycling, especially spontaneous use of shared bikes, potentially undermining sustainable mobility goals. The study highlights the need for educational campaigns, helmet accessibility, and improved cycling infrastructure to balance safety with continued growth in bike-sharing uptake.
- Full paper: The Impact of Mandatory Helmet Laws on Urban Bike-Sharing and Sustainable Mobility in Prague.
Authors: Jan Střecha, Bettina Anker, Mark Romanelli, Louis Moustakas (2025)
Got your micromobility moment to share? Email us at press@micromobility.io
Loving the vibe? Hop on and ride with us! Subscribe!

%2Bcopy.webp)



.png)


-2%20(1)%20(1).webp)
.jpg)




